Joint Tótica Emboutisseuse H31 Talsa 285x7mm Diamètre intérieur
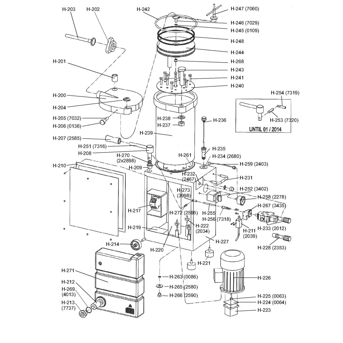
Joint Torique Emboutisseur H42 Talsa 330x10mm Diamètre intérieur Silicone Transparent 03631 6237
Joint Tótica Emboutisseuse H31 Talsa 285x7mm Diamètre intérieur
Joint Torique Emboutisseur H42 Talsa 330x10mm Diamètre intérieur Silicone Transparent 03631 6237

Joint Torique Emboutisseur H42 Talsa 330x10mm Diamètre intérieur Silicone Transparent 03631 6237

REP0001668
60,00 €
HT

Télécharger le PDF

Description

Joint Torique Emboutisseur H42 Talsa 330x10mm Diamètre intérieur Silicone Transparent

Détails du produit

Diamètre Extérieur
350mm
Diamètre Intérieur
310mm
Application
Emballer
Épaisseur
10mm
Marques Compatibles
Talsa
Machine à saucisse Pièces
Joint de piston
Composants Mécaniques
Juntas para frigoríficos
Types de joints
Junta Tórica