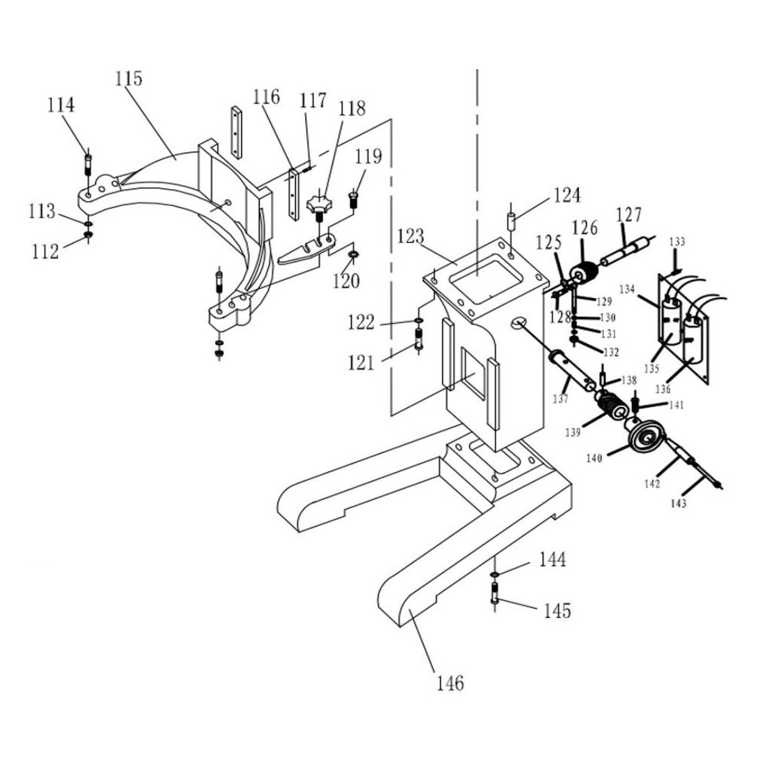
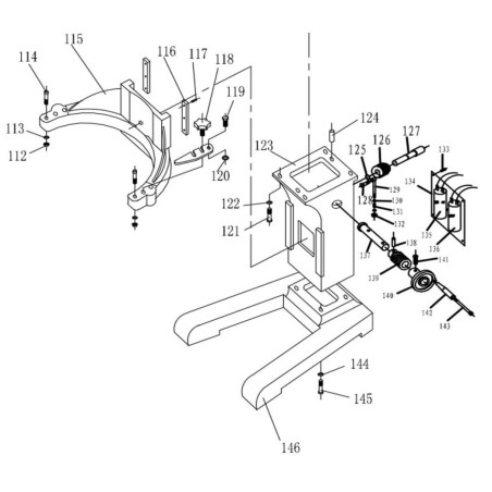
Engranaje elevación cuba Amasadora B20B despiece 126
Engranaje elevación cuba Amasadora B20B despiece 126
Engranaje elevación cuba Amasadora B20B despiece 126
Engranaje elevación cuba Amasadora B20B despiece 126
Engranaje elevación cuba Amasadora B20B despiece 126
Engranaje elevación cuba Amasadora B20B despiece 126

Engranaje elevación cuba Amasadora B20B despiece 126

REP0091058
30,00 €
Impuestos excluidos

Descripción

Detalles del producto

Aplicación
Amasadora
Marcas Compatibles
Eutron
Amasadora Partes
Engranajes

Referencias asociadas: compruebe la compatibilidad antes de realizar la compra.