Rótula macho palanca articulación rodillera TALSA H270 2898
Rótula macho palanca articulación rodillera TALSA H270 2898
Rótula macho palanca articulación rodillera TALSA H270 2898
Rótula macho palanca articulación rodillera TALSA H270 2898

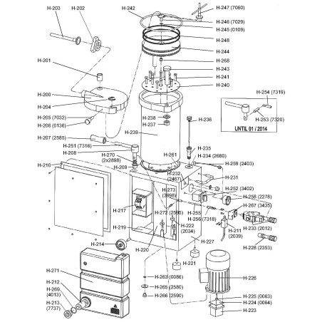
Funda Rodillera Goma Verde Embutidora Talsa 2585

REP0001673
26,00 €
Impuestos excluidos

Descripción

Funda Rodillera Goma Verde Embutidora Talsa 2585

Detalles del producto

Aplicación
Embutidora
Marcas Compatibles
Talsa
Embutidora Partes
Mandos